Beiträge: 1169
Themen: 186
Registriert seit: Jan 2019
Hallo,
ich habe ein paar Plastikspulen, die nicht mehr ganz gerade sind. Das Band scheuert an den Seiten. Hat jemand vielleicht eine erfolgreiche Methode ausprobiert, um solche Spulen wieder gerade zu richten? Ich vermute, dass man es mit viel Zeit versuchen könnte. Passende Abstandholzstücke in die Spule reintun und diese ein paar Monate/Jahre im Keller stehen lassen. In Theorie sollte sich das Plastik mit der Zeit wieder richtig verformen, oder? Gab es seitens irgendwelcher Herrsteller Tipps hierzu?
Gruß
Nelson
Hallo Nelson,
das mit den Abstandhaltern wäre eine Idee. Anschliessend mit einem Fön oder einer Heißluftpistole vorsichtig erwärmen und wieder
abkühlen lassen und die Halter wieder entfernen. Müsste man mal ausprobieren ob das gut funktioniert.
Mfg Alex
Beiträge: 8937
Themen: 219
Registriert seit: Mar 2006
Hallo!
Vielleicht ist es besser, die mit Abstandshaltern präparierte KS-Spule
im Backofen gleichmäßig mit Umluft auf Temperatur (60°?) zu bringen.
Um zusätzliche Spannungen durch punktuelle Erwärrmung zu vermeiden.
Gruß
Wolfgang
Beiträge: 2242
Themen: 127
Registriert seit: Jun 2006
Ich habe das mit dem Richten auch lange erfolglos ausprobiert (Abstandsring aus Pappe, erwärmen und hoffen), bis von einem Friseur (!!!) der richtige Tip kam!:
Abstandsring aus Pappe mit etwas breiterem Maß und erwärmen ist schon richtig, aber die Spulen ziehen sich danach wieder auf den verbogenen Zustand zusammen. Du mußt einfach nur die Spulen, nachdem sie komplett gleichmäßig durchgewärmt sind, für zwei Tage sofort in die Tiefkühltruhe packen. So werden nämlich (oder wurden zumindest damals) Toupes wieder in Form gebracht.
LG Martin
Leute, bleibt schön glatt gewickelt!
Beiträge: 1176
Themen: 113
Registriert seit: Apr 2004
Würde die Friseur - Methode auch bei meinem Problem helfen?
Ich habe eine Reihe von Revox Spulen (neues Design mit fünf Löchern), die ich nur auf Maschinen laufen lassen kann, deren Wickelteller kalt bleiben.
Besonders die nackten A77 - Teller werden aber mit der Zeit sehr warm. Das hat zur Folge, dass sich der Spulenkern etwas ausdehnt und die Spulenränder zueinander gedrückt werden. Da kann es außen schon mal 1-2mm enger sein als innen, und die Schleifgeräusche kann man sich gut vorstellen. Nach dem Abkühlen gehen die Spulenränder wieder auseinander. Ob die Tiefkühlmethode da dauerhaft Abhilfe schafft?
Gruß
Heinz
Beiträge: 2242
Themen: 127
Registriert seit: Jun 2006
Das glaub ich nicht.
Leute, bleibt schön glatt gewickelt!
Beiträge: 1429
Themen: 9
Registriert seit: Apr 2010
Heinz, wenn die Teller deiner A77 so warm werden dass sich die Spule verzieht, ist mit dem Gerät was faul (Motorkondensatoren), nicht mit der Spule.
VG Stefan
Beiträge: 1176
Themen: 113
Registriert seit: Apr 2004
Sooo heiss werden die Teller nicht; das Problem liegt am Material der Spulen, das recht bald in die Kritik geraten ist. Die alten Revox Spulen mit den sechs Löchern laufen ohne Probleme und ohne sich bei Erwärmung zu verziehen. Und wenn mal versehentlich eine Spule zu Boden fällt, zerspringt die neue, während die alte nur ein wenig herumhüpft. Es war ein klassischer Fall von Verschlechterung eines bewährten Konzepts. Mir gefallen die alten Spulen auch noch besser.
Gruß
Heinz
Beiträge: 138
Themen: 20
Registriert seit: Oct 2017
Wie genau macht Ihr denn diese Abstandsstreifen für den Backofen-Gefrierfach-Trick?
Beiträge: 4703
Themen: 60
Registriert seit: Dec 2014
Arctic_ReFox,'index.php?page=Thread&postID=235123#post235123 schrieb:Wie genau macht Ihr denn diese Abstandsstreifen für den Backofen-Gefrierfach-Trick?
Mit einem starken Kartonstreifen, einem Teppichmesser und einem entsprechend langen Anlegelineal.
Grüße, Peter
Grüße
Peter
_____________________
Ich bin, wie ich bin.
Die einen kennen mich, die anderen können mich.
(Konrad Adenauer)
Beiträge: 138
Themen: 20
Registriert seit: Oct 2017
Und die sollten dann etwas breiter sein als Band, also z.b. 8mm?
Beiträge: 4703
Themen: 60
Registriert seit: Dec 2014
Arctic_ReFox,'index.php?page=Thread&postID=235127#post235127 schrieb:Und die sollten dann etwas breiter sein als Band, also z.b. 8mm?
Ist jedenfalls zum Probieren ein guter Ausgangspunkt.
Grüße, Peter
Grüße
Peter
_____________________
Ich bin, wie ich bin.
Die einen kennen mich, die anderen können mich.
(Konrad Adenauer)
Beiträge: 2242
Themen: 127
Registriert seit: Jun 2006
Muß breiter sein, als die normale unverbogene Spule. Aufzeichnen, mit Schere ausschneiden, zusammentackern, einfädeln, ordentlich durchwärmen (ich habs damals auf dem Heizungskessel gemacht), Tiefkühltruhe.
Leute, bleibt schön glatt gewickelt!
Beiträge: 1169
Themen: 186
Registriert seit: Jan 2019
Gibt es eigentlich eine Norm für die Breite einer Spule für 6,3 mm Bänder?
Grüß
Nelson
Beiträge: 1169
Themen: 186
Registriert seit: Jan 2019
Ich dachte eher an ein Brett aus Holz mit einem Loch für den Spulenkern in zwei Teile geschnitten. Man würde die Spule im "Würgegriff" knapp auf dem Kern einklemmen und man könnte das Ganze auf dem Holz gestützt im Backoffen stellen. Vielleicht bekommt man ein passendes Brett im Baumarkt.
Gruß
Nelson
Beiträge: 4703
Themen: 60
Registriert seit: Dec 2014
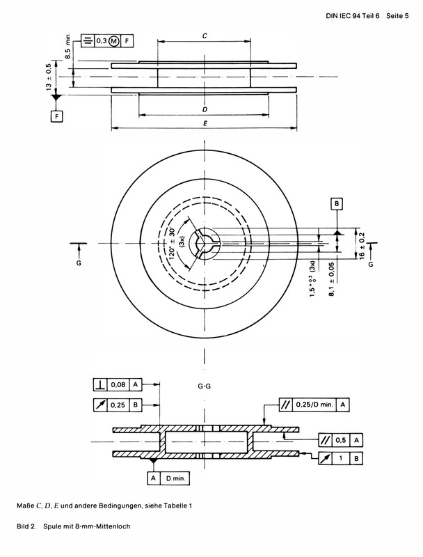
t20,'index.php?page=Thread&postID=235186#post235186 schrieb:Gibt es eigentlich eine Norm für die Breite einer Spule für 6,3 mm Bänder? Klar (wie für praktisch alles damals), die DIN 45514, später DIN IEC 94 Teil 6 "Spulenysteme für Magnetband". Darin ist die lichte Höhe mit 8,5 mm angegeben (im ersten Bild oben links:
Grüße, Peter
Grüße
Peter
_____________________
Ich bin, wie ich bin.
Die einen kennen mich, die anderen können mich.
(Konrad Adenauer)
Beiträge: 1661
Themen: 25
Registriert seit: Dec 2013
D.h. der Kern zum Biegen sollte mindestens 9 mm haben, wahrscheinlich eher 10. Das sollte ja leidlich einfach zu beschaffen sein.
Beiträge: 138
Themen: 20
Registriert seit: Oct 2017
Ich habe am Dienstagabend drei Spulen gebacken und eingefroren, die ich mit geknickten, 8-9 mm breiten Pappstreifen aufgespreizt hatte. Ich werde sie nachher mal hervor holen und bin gespannt, ob sie dann besser funktionieren.
Beiträge: 981
Themen: 62
Registriert seit: Nov 2010
da dieses thema immer aktuell ist, finde ich es schade, dass keine rückmeldung mehr kam.
Beiträge: 3274
Themen: 467
Registriert seit: Apr 2018
Beiträge: 138
Themen: 20
Registriert seit: Oct 2017
Hallo in die Runde,
Um es ganz kurz zusammen zu fassen: Das Projekt hat überhaupt nichts gebracht. Die Spulen blieben schief und ich habe sie entsorgt.
|